MME是由GPRS网络中SGSN节点演进而来的MME是LTE接入网络的关键控制节点mme和sgsn区别, 负责空闲模式下用户设备的跟踪和寻呼控制,其中包括用户设备的注册与注销过程,同时帮助用户选择不同SGW,以完成LTE系统内核心网CN节点切换通过与用户归属服务器HSS的通信,MME完成移动用户在EPC部分鉴权功能SGW主要负责用。

2MMEMobility Management Entity是3GPP协议LTE接入网络的关键控制节点,它负责空闲模式的UEUser Equipment的定位,传呼过程,包括中继,简单的说MME是负责信令处理部分它涉及到bearer激活关闭过程,并且当一个UE初始化并且连接到时为这个UE选择一个SGWServing GateWay通过和HSS交互认证一个用户;NAS信令的安全性 与其他3GPP网络的核心网交互,进行移动性控制 控制和执行寻呼的传递 TA列表的管理 维护TAI和UE位置区LAI的映射,UE时区的管理 PDN网关和服务网关的选择 切换到2G3G时,选择SGSN MME改变时,选择MME 漫游的处理 鉴权管理 承载管理 等等功能 GSIF是声卡驱动;需要注意的是,2G3G网络中的分组域核心网元是SGSN和GGSN,其中SGSN负责用户接入和管理,而GGSN则作为关口局连接国际网络相比之下,LTE4G的分组域核心网元包括MMESGW和PGWMME主要负责移动管理功能,PGW则负责连接互联网,而SGW则在用户接入网络时进行路由选择资源分配等任务尽管LTE。
二网络速度不同 118GLTE网络18G的网络速度要大于800M的网络速度2800MLTE网络800M的网络速度要小于78G的网络速度三特点不同 118GLTE网络有助于网络部署单个技术的演进以及全面灵活的扩容同时,LTESAE体系结构还能将SGSN和MME功能整合到同一个节点之中,从而实现一个;每个eNode B通过S1接口与MME和SGW相连,其中S1MME接口处理控制信令,而S1U接口则处理用户数据这种分离有助于网络的灵活管理和扩展在EPCEvolved Packet Core方面,SGW是网络中的关键节点,负责用户的数据传输MME则专注于移动性管理,与传统的SGSN和MME功能相比,它实现mme和sgsn区别了更高效的信令处理;在EPC侧,SGW作为3GPP移动网络内的锚点,负责用户数据的转发和存储MME功能与网关功能分离,主要负责处理移动性等控制信令,有助于网络部署技术演进和扩容技术整合与灵活性LTESAE体系结构能将SGSN和MME功能整合到同一个节点之中,实现同时支持GSMWCDMAHSPA和LTE技术的通用分组核心网,提高了网络。
NAS信令解析和处理 NAS信令的安全性 与其他3GPP网络的核心网交互,进行移动性控制 控制和执行寻呼的传递 TA列表的管理 维护TAI和UE位置区LAI的映射,UE时区的管理 PDN网关和服务网关的选择 切换到2G3G时,选择SGSN MME改变时,选择MME 漫游的处理 鉴权管理 承载管理 等等功能;SGSN用于接入用户,管理用户,GGSN是关口局,链接Internt LTE4G网络中的分组域核心网元是MME,SGW,PGW 其中MME用作移动管理, PGW链接Internet, SGW作为用户接入网络做一些路由选择,资源分配等工作 LTE的网络节点和3G的网络节点功能类似,但是一个是给3G服务,一个是给4G服务;eNodeB主要功能包括空中接口各层实体,实现用户面与控制面的建立与管理MME作为控制节点,管理空闲模式的UE定位传呼漫游控制等SGW终止于EUTRAN接口,负责用户会话管理PGW终结于PDN接口,管理用户接入多个PDN的会话SGSN与HSS存储用户信息,实现漫游场景中用户选择功能PCRF管理策略与计费规则。
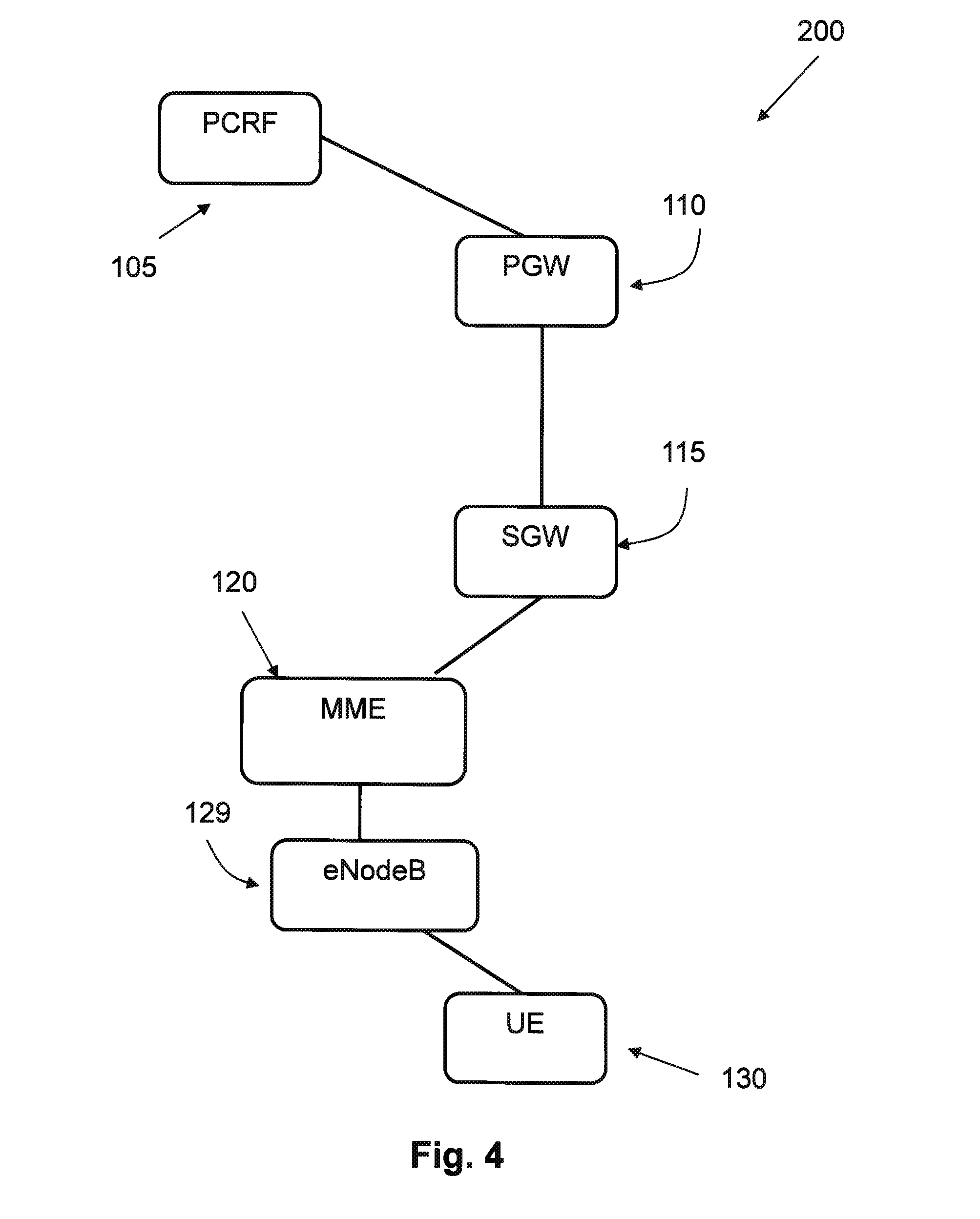
EPC主要由MMESGWPGWPCRF等网元构成其中MMEMobility Management Entity,原3G网络中SGSN网元的控制面功能SGWServing Gateway,原3G网络中SGSN网元的用户面功能,有时也写为SGWPGWPDN Gateway,原3G网络中GGSN网元的功能,有时也写为PGWPCRFPolicy and Charging Rules Function。

总体来说,MME类似于SGSN网元的控制面功能,将网元控制面与用户面功能的分离更有利于网络扁平化的部署MME除以上移动性管理等功能之外,还负责合法监听用户漫游控制以及安全认证等方面的管理;MME是一个信令实体,主要负责移动性管理承载管理用户的鉴权认证SGW和PGW的选择等功能 2 SGW终结和EUTRAN的接口,主要负责用户面处理,负责数据包的路由和转发等功能,支持3GPP不同接入技术的切换,发生切换时作为用户面的锚点对每一个与EPS相关的UE,在一个时间点上,都有一个SGW为之服务;诺西MME的BUG造成7108D等单卡双待手机联合附着,引起双待手机被叫失败ENODEB将ESRTAU错误分发至另一个SGSN,可能导致被叫无法接续,此问题在大唐中兴ENodeB中存在基站干扰,CSFB手机在被叫时回落至干扰基站,也可能导致被叫失败4G网络弱覆盖寻呼无响应,可能导致被叫失败4G网络SINR值差;其中,LTE核心网侧主要包括三个功能实体移动管理实体MMEMobilityManagementEntity,服务网关SGWServingGateway以及PDN网关PacketdatanetworkgatewayMME是由GPRS网络中SGSN实体演进而来,主要提供EPC部分核心控制功能SGW提供用户面的控制功能,负责数据包的路由和转发,并支持终端移动性切换用户数据。
